| Производитель | НТЦ Промтехнологии |
| Характеристика | Диапазон: 20...60 H |
| Госреестр СИ РФ | Да |
| Гарантия | 12 месяцев |
Описание
Адгезиметр полимерных лент NOVOTEST АП-1М предназначен для контроля адгезии защитных и изолирующих покрытий на теплотрассах и других промышленных трубопроводах. Прибор не требует специальных знаний для применения и обеспечивает достоверность измерения сопротивления до 0.01 кг/см.
Ключевые особенности
- Толщина проверяемого покрытия - до 15 мм
- Исследования по методу “А”, включенному в ГОСТ Р 51164-98
- Диаметры труб для исследования: от 270 до 1420 мм
- Допустимая температура работы от -40 до +40°С
- Максимальное значение шкалы динамометра - 10 кг/см
- Малый вес - 450 г
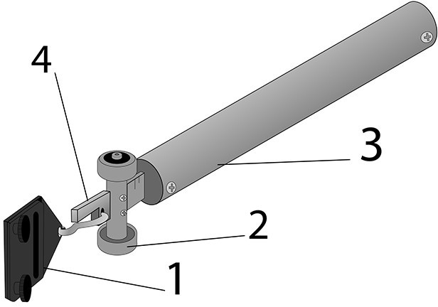
Оператор прибора при замерах может оценить угол отслаивания ленты. Шкала интегрированного динамометра легко читается при любом рабочем положении, она расположена на выдвижном стержне. Зажим специальной конструкции надежно фиксирует полосы из полимерных лент и других материалов.
Технология проведения исследований подразумевает 3 снятия показаний на участках трубы, отстоящих друг от друга минимум на 50 см. В результате определяется точное значение адгезионной стойкости и характер отслоения.
NOVOTEST АП-1М рассчитан на работу в в сложных погодных условиях, устройство не боится пыли, влаги, холодов. Материал корпуса - нерж. сталь - обеспечивает коррозионную стойкость. Небольшая масса позволяет проводить множественные замеры на различных участках без утомления специалиста.
Адгезиметр включен в госреестр средств измерения. Комплект поставки включает все необходимое: шаблон для подготовки поверхности к измерениям, нож и защитный чехол.
Комплектация:
- Адгезиметр полимерных лент NOVOTEST АП-1М
- Шаблон для надреза полосы
- Нож
- Паспорт
- Чехол либо кейс
| Диаметр контролируемых труб, мм | 270 – 1420 |
|---|---|
| Толщина контролируемого покрытия, мм, не более | 15 |
| Сдвиговое усилие, кг | 0-4 |
| Диапазон измерений величины усилия адгезии, Н | 20-60 |
| Условия эксплуатации, °С | от -40 до +40 |
| Габаритные размеры, мм, не более | 190 х 80 х 110 |
| Вес, кг, не более | 2,5 кг |
Характеристики
| Производитель | НТЦ Промтехнологии |
| Характеристика | Диапазон: 20...60 H |
| Госреестр СИ РФ | Да |
| Гарантия | 12 месяцев |
Адгезиметр полимерных лент NOVOTEST АП-1М отзывы
| 0 | ||
| 0 | ||
| 0 | ||
| 0 | ||
| 0 |




























